


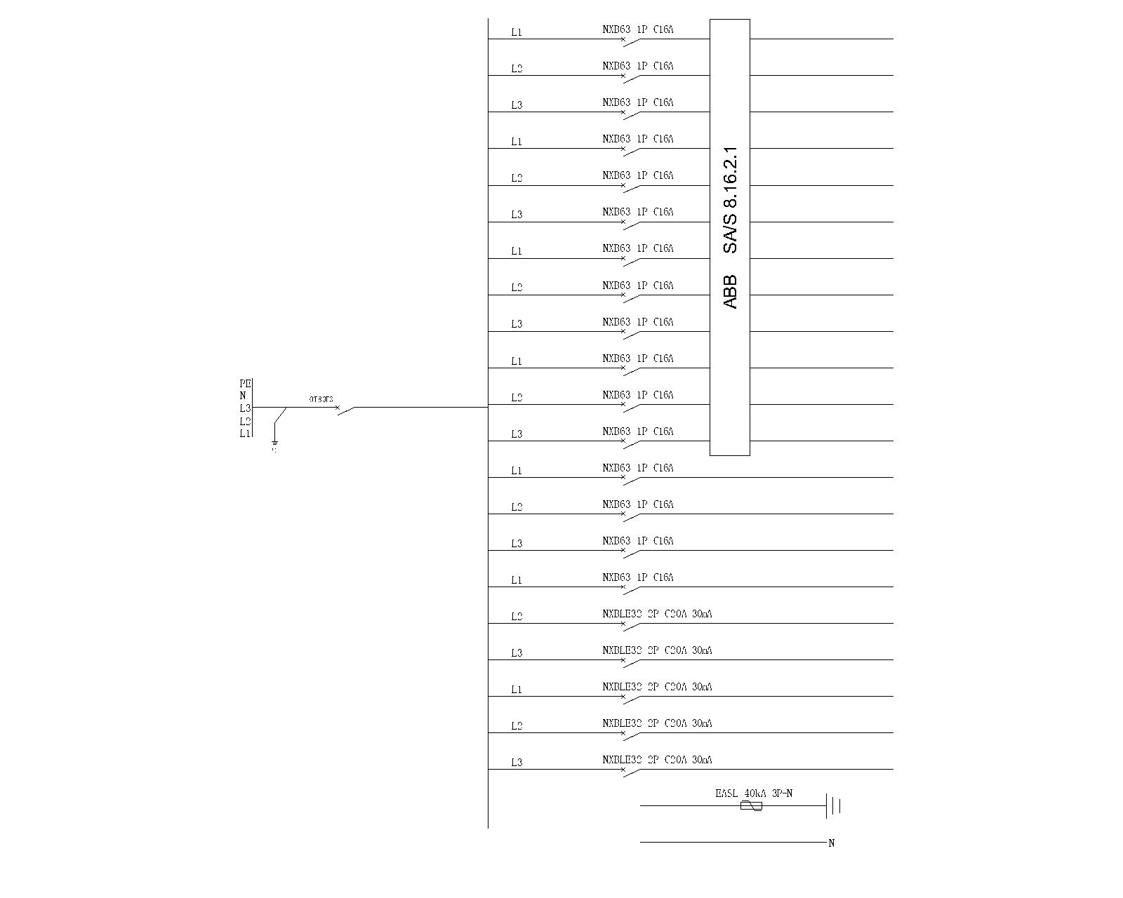
80A 控制柜 正泰 20回路 带防雷 600*700*200
80A 控制柜 正泰 20回路 带防雷 600*700*200
收藏
联系客服24小时客服

扫码联系客服,立即咨询
如需了解更详情资料
联系客服:400-6611-323
联系客服:400-6611-323
方案BOM清单
方案总价
10481.95
方案描述
CAD图纸
928472.dwg
文件信息
928472.pdf
用户评价
发表评价
专业性
价格
服务
评价商品
0 / 500
晒图片
点击上传图片
暂无评价



80A 控制柜 正泰 20回路 带防雷 600*700*200

暂无评价